阿波罗LH12N紧急启/停按钮
阿波罗LH12N紧急启/停按钮
产品价格:¥面议(人民币)
  • 供应数量:1
  • 发货地:天津-塘沽区
  • 最小起订量:1
  • 免费会员
    会员级别:免费会员
    认证类型:企业认证
    企业证件:通过认证

    商铺名称:天津高能阀门制造有限责任公司

    联系人:林先生(先生)

    联系手机:

    固定电话:

    企业邮箱:452410755@qq.com

    联系地址:天津滨海新区丹江路1068号

    邮编:300457

    联系我时,请说是在泵阀网上看到的,谢谢!

    商品详情
      品牌: 阿波罗
      型号: LH12N
      名称: 紧急启停按钮

      阿波罗LH12N紧急启/停按钮  


      一,特点

           LH12N型现场紧急启/停按钮(以下简称启/停按钮或LH12N),用于被保护现场在紧急的情况下控制气体灭火系统的启动或停动,通常安装在现场。当被保护的区域内发生火情时,按下紧急启动按钮,即可向气体灭火控制器发出要求启动信号,气体灭火控制器响应后,发出启动控制命令,经延时后,发出启动气体喷洒命令,相应的电磁阀等设备实施气体喷洒。在延时期间,若现场人员确认无火灾发生,立即按下紧急停动按钮,可中断延时并终止后续启动命令。

            LH12N与气体灭火控制器的连接采用二线制,非编码方式,不占回路地址。LH12N设有保护罩以避免误操作。当需要按动紧急启动或紧急停止按钮时,需压碎塑料罩后再按下相应的按钮。

        当现场需要多个现场紧急启/停按钮时可采用一个LH12N(可称为主动型)和多个LH12NA(可称为从动型)串接的方式扩展,最多可扩展3个LH12NA。“详见章节十”。


      二,主要技术指标

      工作电压 DC20V~28V

      环境温度 -10℃~+50℃

      工作电流 <5m A

      环境湿度 ≤95%RH (40℃)

      报警电流 <30m A

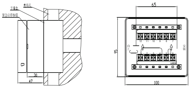
      外形尺寸 长100mm×宽95mm×厚47mm

      重量 172g(含底座)


      三,安装与布线

      1、安装方法

      LH12N的安装示意图、底座尺寸如图7.9所示,布线需按消防施工规范。

      阿波罗LH12N紧急启/停按钮安装方法

      2、端子说明

      LH12N:

             11:按钮+   10:按钮-   9:按钮+   8:按钮-

              2:启动入   3:启动出   4:停止出   5:停止入

      LH12NA:

             11:按钮+   10:按钮-   9:按钮+   8:按钮-

              2:停止入   3:停止出   4:启动入   5:启动出


      3、布线要求

      所有线可选用截面积≥RVS-2×1.0mm2 的双绞线。   


    在线询盘/留言
  • 0571-87774297