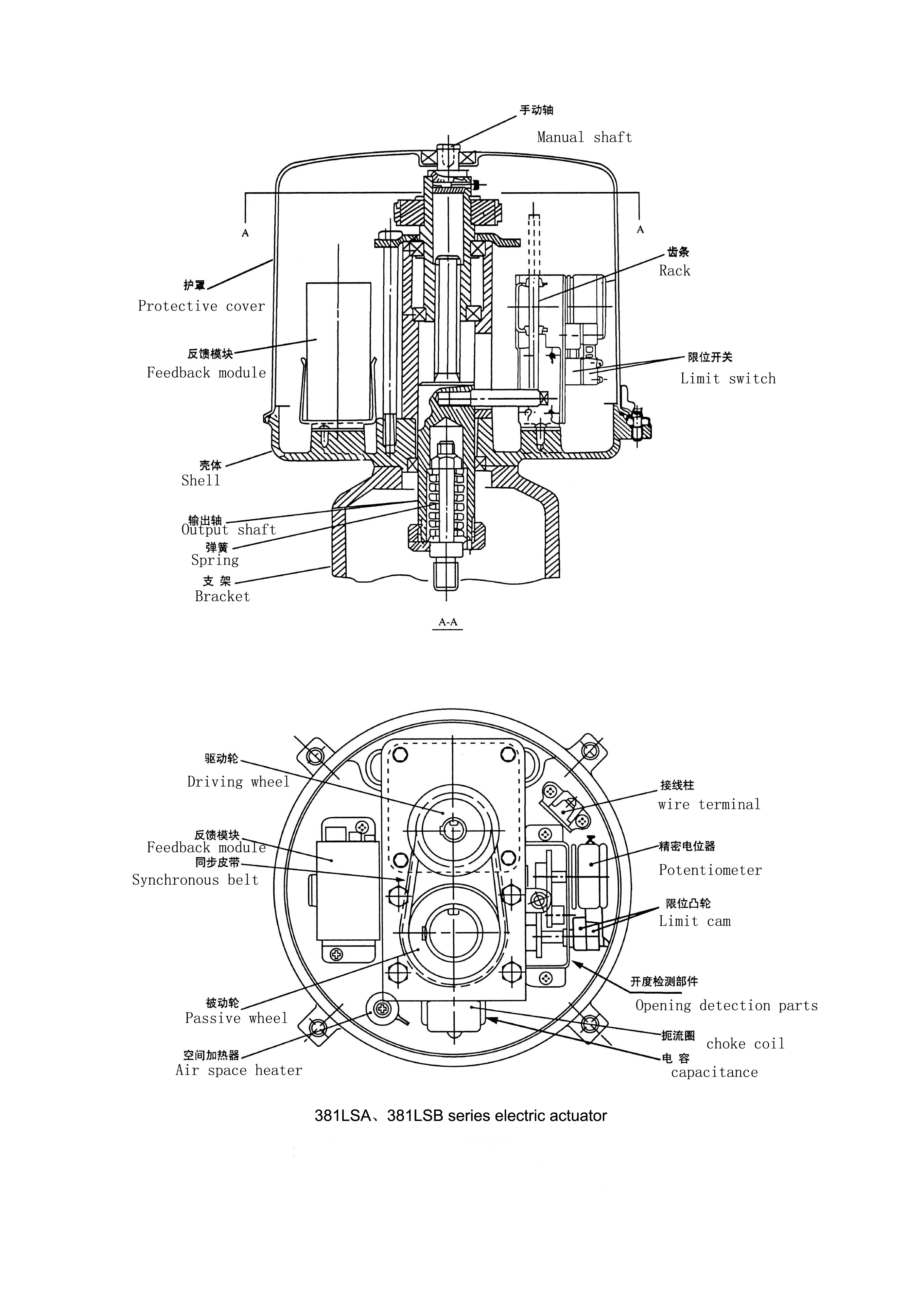
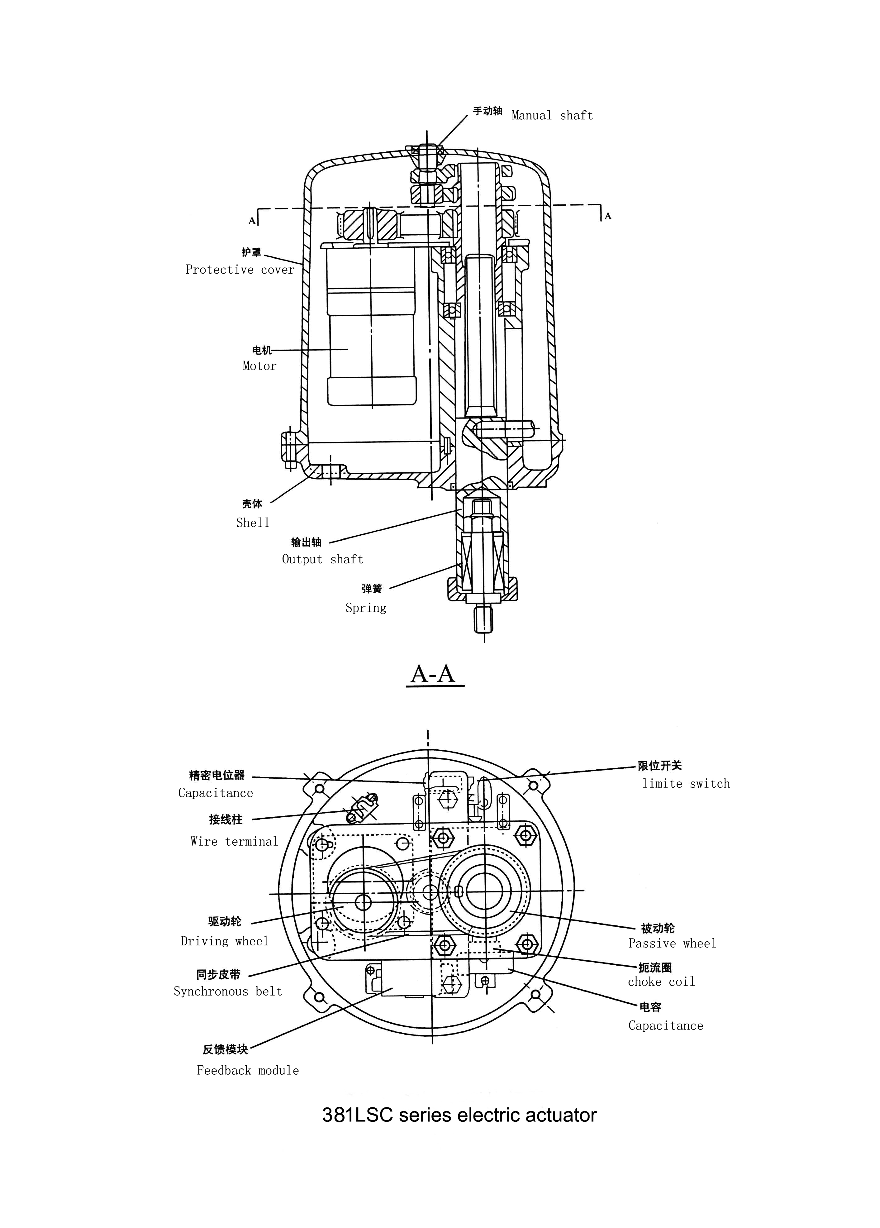
直线电动执行器16mm调节阀执行机构361LSB-30361LXA-30361LSB-50
直线电动执行器16mm调节阀执行机构361LSB-30361LXA-30361LSB-50
产品价格:¥1950.00(人民币)
  • 规格:361LSB-30
  • 发货地:天津天津
  • 品牌:
  • 最小起订量:1
  • 诚信商家
    会员级别:钻石会员
    认证类型:企业认证
    企业证件:通过认证

    商铺名称:天津百二通自控阀门有限公司

    联系人:经理(女士)

    联系手机:

    固定电话:

    企业邮箱:

    联系地址:

    邮编:

    联系我时,请说是在泵阀网上看到的,谢谢!

    商品详情
      产品参数
      是否支持加工定制
      驱动能源电动
      产地天津
      加工定制可以
      型号电动执行机构
      产品用途开关、节流
      颜色白色
      电压220V、380V
      控制精度基本误差±1%
      相对湿度≤95%
      适用阀门调节阀
      品牌天津二通







    0571-87774297